|
根据市场调研机构NetMarketShare数据显示,Windows Phone今年4月份的全球移动领域市场份额仅剩下1.59%,大部分的APP开发商已经彻底放弃了Windows Phone平台。
对于外界而言,微软的手机早已名存实亡。笔者作为曾经的Lumia用户,对微软感到十分地失望。
然而,就在微软Build开发者大会上,CEO纳德拉在接受媒体采访时透露,微软并没有放弃手机业务,微软正在研发与目前市场上常见的手机完全不同的产品。
外界对于纳德拉的此番表态,暗示了微软已经把移动业务的人员整合到Surface部门,并且正在开发一种可折叠手机的项目,手机通过一个特殊的铰链设计,能够瞬间变成平板电脑。显然折叠式手机跟现有的直板大屏占比智能手机设计上截然不同。
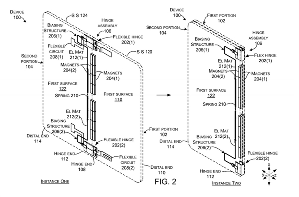
今天外媒Phone Arena曝光了微软的一项新专利——“柔性可折叠计算设备”。
根据曝光的专利细节,这款设备有着类似于Surface平板电脑那样的铰链设计,通过巧妙的机械和磁铁组合,打造出一个可折叠的设备。打个比方,一款5.5英寸的手机,通过折叠设计,就能变成10英寸的平板电脑。
在如今的全息投射技术还没有成熟的时候,让用户降低携带负担,却又能最大程度地提高生产力的效率。显然,这样的可折叠手机是最佳选择。
三星Galaxy Note 8、iPhone 8将在下半年亮相,纳德拉口中这款“大不一样”的手机是否能获得消费者与市场的认可,仍需要画上一个巨大问号。
你对于Surface Phone,还有期待么?



 |